
点击数:7502021-06-19 08:13:53 来源: 换热器
最近有些朋友购买了换热机组这种大型的设备,但是不知道应该怎么去使用,今天就来给大家分享一下换热机组说明书,如果你有这个需求的话,不妨进来文章学习的一下吧,说不定会对你有所帮助。
换热器是一种在不同温度的两种或两种流体间实现物料之间热量传递的节能设备,是使热量由较高的流体传递给温度较低的流体,使流体温度达到流程规定的指标。换热器行业涉及暖通、压力容器、中水处理设备等近30多种产业,相互形成产业链条。

换热机组说明书
一、用途
换热机组是一套经过有机组合的完整的换热设备,它可以进行汽—水、水—水的热交换,用户只需接上管道及电源即可使用。本系列机组广泛用于住宅、机关、学校、厂矿、医院、宾馆等场合的采暖、洗澡和空调系统。
二、主要特点
1、由于把换热器二次网的循环水泵、补水泵、过滤器等合理的组合成一个整体,结构紧凑,占地面积小,容易操作和观察。
2、系统补水采用水保机组自动补水、稳压。
3、由于结构紧凑、占地面积小、使附助设备之间的连接管路大大缩短,即减少了投资,也降低了运行费用。
4、本换热机组主要设备均采用著名品牌产品。换热机组工作在设计状况下,负荷平稳,噪音低,性能可靠,几乎无需维护。
三、选用说明
1、该产品适用于住宅、机关、学校、厂矿、医院、宾馆等场合的采暖、洗澡和空调系统。
2、换热型式可分为汽—水、水—水两种。
3、双循环泵系统正常为一泵工作、一泵备用
4、应留出相对独立的控制操作间,以安装控制柜。
5、换热机组出厂时不进行保温。
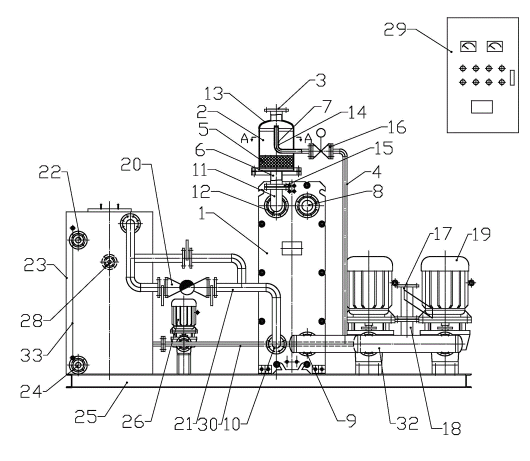
四、换热站工作原理
换热机组,该机组主要由循环泵、温控装置、控制仪表及控制柜等部分构成。本机组换热效率高,制造成本低,节能效果显著,结构紧凑、布局合理、检修方便,机组有如下特点:
1、换热效率高达98%。采用萨莫威孚娇妻肉交换27部多P小美与子,进口板片,深浅槽混装版型,极大地提高了换热效率,温升块。
2、二次管网的回水经过过滤器,流进二次网路循环泵,(双循环泵时一台工作,一台备用;三台循环泵时二台工作,一台备用),加压后进入换热器,与一次网的热水进行热交换,达到二次网供水所需的水温后,进入二次网供水管路。当系统的压力高于额定值时,水保机组安全阀打开,向水箱内排放膨胀水,当系统压力降低时,水保机组控制补水泵补水,低于设定压力下限,开启补水泵向系统内补水,当系统压力达到设定上限时,补水泵停止运行,使系统压力保持在设定范围内。(补水压力以静压高度参考值,略高0.11倍将空气排除)
五、机组安装及使用
1、所有设备事先固定在底座上,再把底座固定再混凝土基础的预埋件上。基础上平面及底座周边地面作100mm的排水沟,并把积水引向排水点。
2.设备基础周围应留有500mm操作空间,一次及二次网出水侧应留有1000mm的操作空间。
3.各接口再连接前必须清理干净,并注意在连接时不受力。
4.在进入机组前的低温侧回水管上装有,其规格与所连接管道的公称直径相同。
5.疏水阀应采用自由浮球式,疏水管路应设置旁通管路(适用于蒸汽换热)。
6.热媒进口前需安装过滤器,热媒管路应设置旁通管路,以方便温控阀损坏时不停机使用。
7.系统管路的安装应严格按照设计单位提供的管路系统图进行安装,运行前应确保换热器及其附件安装正确,安全可靠,为方便维修。
8.运行时应首先打开循环管路进出口阀门,确认二次循环管路中充满流体介质,开启循环泵;打开热水回水阀门,最后缓缓开启热媒介质阀门。关闭时应依次关闭热媒介质进口阀门,出口阀门,循环泵,循环管路的进出口阀门(常开)。
六、机组控制柜的操作
本热交换组的循环泵启动操作。操作简单、运行安全可靠的特性。水保机组自动时可实现恒压供水,精确高、易于管理、操作。
调试状态:
把“转换开关”打到“手动”位置,依次按下控制柜面板上的“启动”按钮(绿 色),则对应的水泵相应的启动。
停止时按下控制柜面板上的“停止”按钮(红色)即可;手动状态下务必让整个系统充满水。
运行状态、操作规程:
1、当调试完毕后,把“转换开关”打到“自动”位置,整个系统处于自动运行状态。
2、当系统的压力达到“启动压力”时,循环泵及补水泵相应的启动一台,延时一段时间后自动打开热侧入口处的电动式温度调节阀,设备处于正常运行状态。
3、当运行的循环泵出现故障时,投入备用的循环泵使设备正常运行。
4、电动式温度调节阀是一个模拟控制的过程,根据出水温度调节电动式温度调节阀的开启或关闭。当出水温度高于设定温度时,相应的关小电动式温度调节阀开度,反之则增大。
5、循环泵的控制:循环泵可实现自动转换功能。
6、温控阀温度的设定:调试已经设定好了温度,用户需要设定或修改温度流程,打开控制箱-目标西门子RWD60控制器,按下“+”号键,显示进入|PS2 按下SEL键,进入“C”闪烁的数值,然后按下“+”键为设高温度,“-”号键为设低温度,确认好温度按下“SEL”键,最后按“-”号键返回(备注,其他设置不动)。
注意事项
1、设备调试完毕正常运行后,请不要随便修改电动式温度调节阀控制器的参数,以免整个系统出现误动作不能正常运行甚至于损害系统。如需修改请按照《运行状态、操作规程》序号6执行。特别提醒,系统管网及末端有一定的用户开启方可进行机组开机。
2、设备正常运行之前必须使整个系统充满水。
3、所选供电变压器容量,供电电缆的容量必须与用电设备相匹配;
4、所有用电设备必须可靠接地,以防止出现不应有的事故;
七、机组运行与维修
1、与机组相连的热源,室外热网,采暖工程必须经施工安装验收合格后,整个系统畅通无泄漏,机组方可启动运行。
2、整个系统充满经处理后的软化水。
3、机组启动前各阀门均处于关闭态(调试时已经开启),先全部开启循环水系统阀,启动循环泵后,逐步开启热侧锅炉水阀(现已经常开)。
4、当系统达到稳定运行后,定时记录各种温度、压力以及流量数值。
5、停止运行时,先关闭热侧入口阀,五分钟后再停止循环泵,关闭供水阀。
6、在机组正常运行后,应定期进行维护清洗,观察水泵运行是否正常。
7、注意当,补水时水箱内一定不能缺水,否则会损坏整个系统动力设备。
八、紧急情况处理
1、如果遇到紧急情况,如疏漏时,不要慌张,首先把总阀门关闭。
2、如遇停电或停水时,不要运行设备。
开关机口诀:开机先冷后热,先开冷时先补后循环;关机是先热后冷。
以上就是信安瑞给大家介绍了换热机组说明书,看完后,你们是不是都了解到了换热机组的日常使用方法?希望这些内容对你们有所帮助。